
一、重庆公交卡挂失在哪里办理
在通卡公司各运营中心办理。
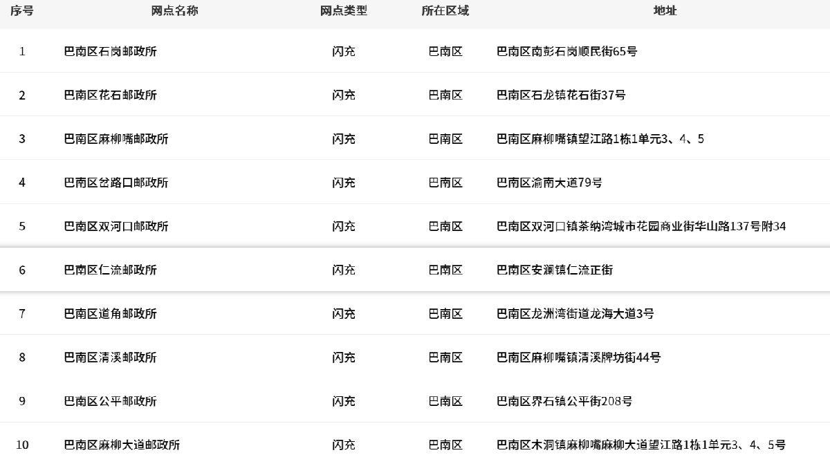
点击查询网点信息(也可以查询电话信息)
二、次数及资金上限
1.交通公益卡:
敬老卡、爱心卡:该卡不带电子钱包功能,敬老卡含每年1200次乘坐公交车辆和轨道交通次数,敬老卡在使用时仅显示对应该半年的600次;爱心卡含每年900次乘坐公交车辆和轨道交通次数,卡片在使用时仅显示对应该半年的450次。
爱心优惠卡:该卡不带计次功能,卡内电子钱包资金上限为300元,可享受公交车辆和轨道交通的半价优惠。
成人优惠卡:该卡不带电子钱包功能,享受每月40元可乘坐重庆公交运营企业指定的公交车辆90次。
学生优惠卡:该卡享受每月20元可乘坐公交车辆90次和轨道交通的半价优惠,卡内电子钱包资金上限为300元。
2.普通卡:该卡内电子钱包资金上限为1000元。
3.纪念卡:该卡内电子钱包资金上限为1000元。
4.单位客户卡:该卡类的的卡内钱包资金上限为1000元,记名卡账户资金和卡内钱包资金总计上限为5000元。





