
茂名市高技能人才引进网上办理需要用人单位申请,如自己申请会显示以下页面。

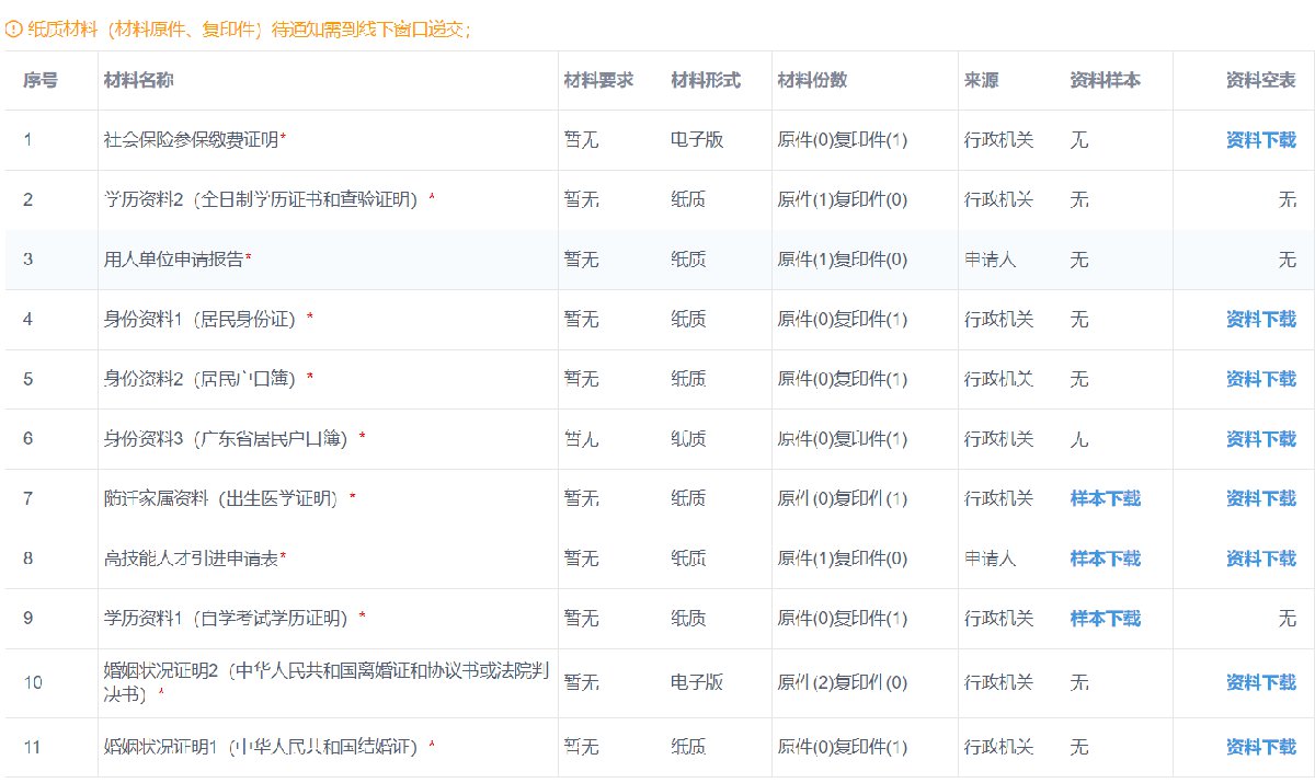
办理条件 用人单位引进高技能人才,应在引进单位就业并连续缴纳社会保险6个月以上,并符合以下条件之一: (一)具有高级技师职业资格,年龄在45周岁以下; (二)具有技师职业资格,年龄在40周岁以下; (三)具有中等职业教育以上学历或普通高中(含)以上学历,并具有高级职业资格、所从事的工种(岗位)符合广州市紧缺工种(职业)目录,在驻穗用人单位连续就业和缴纳社会保险满2年,年龄在35周岁以下。(广州市紧缺工种(职业)目录以最新发布为准) 办理流程 网上办理流程: 第一步:申请单位按规定提交申请;点击进入网办地址 第二步:现场查验资料确定是否予以受理(材料不全或不准确的告知补充材料); 第三步:审核。对材料进行全面审核和查验(不合格的退件); 第四步:核准。申请单位领取资料,告知和指导办理相关事项; 第五步:办结。 窗口办理流程: 第一步:申请,提交申报材料(办事指南规定的法定工作时间即办)。 第二步:受理,收取申报材料(办事指南规定的法定工作时间即办)。 第三步:审核,审核材料。 第四步:核准。第五步:制证发证,制作相关材料并发放。 申请材料 2、用人单位申请报告 3、居民身份证 4、自学考试学历证明 5、结婚证 6、出生医学证明 7、社会保险参保缴费证明 8、全日制学历证书和查验证明 9、居民户口簿 10、广东省居民户口簿 》》点击网页查看更多 窗口办理地址 电白区公共服务中心综合窗口 办理地点:茂名市电白区水东镇迎宾大道138号行政服务中心六楼14号窗口 办公电话:0668-5219732 办公时间:法定工作日8:30-12:00;14:30-17:30 位置指引:途经的公交线路:2路、7路、313路公共汽车至行政服务中心公交站。 收费项目信息:不收费








