
茂名高技能人才引进办理指南
办理条件
用人单位引进高技能人才,应在引进单位就业并连续缴纳社会保险6个月以上,并符合以下条件之一:
(一)具有高级技师职业资格,年龄在45周岁以下;
(二)具有技师职业资格,年龄在40周岁以下;
(三)具有中等职业教育以上学历或普通高中(含)以上学历,并具有高级职业资格、所从事的工种(岗位)符合广州市紧缺工种(职业)目录,在驻穗用人单位连续就业和缴纳社会保险满2年,年龄在35周岁以下。(广州市紧缺工种(职业)目录以最新发布为准)
办理流程
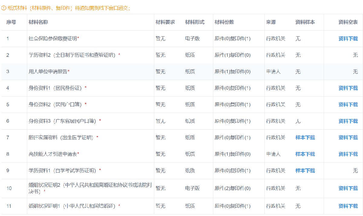
网上办理流程:
第一步:申请单位按规定提交申请;点击进入网办地址



如自己申请会显示以下页面:

第二步:现场查验资料确定是否予以受理(材料不全或不准确的告知补充材料);
第三步:审核。对材料进行全面审核和查验(不合格的退件);

第四步:核准。申请单位领取资料,告知和指导办理相关事项;
第五步:办结。
收费项目信息:不收费




