西安居住证补办办理条件

地方特产2022-03-28 15:07:01佚名

西安居住证补办办理条件

  西安居住证补办办理条件

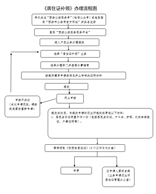
  居住证丢失的,居住证持有人应当及时向居住地公安派出所或者受公安机关委托的社区服务机构申请补领。

  一、申请材料

  居民身份证明复印件一份 居民身份证明,包括居民身份证、户口本、护照、机动车驾驶证、户籍证明等。

  二、办理时限:

  法定周期3个工作日。

  三、换领流程:

  

  各区县咨询电话可点此查看

  具体补换领流程可点此查看

本文标签: 居住证  点此查看  身份证明  居民  流程  

相关推荐

猜你喜欢

大家正在看