
本市公共租赁住房分市筹公共租赁住房和区筹公共租赁住房,只能选择其一提出申请。
申请条件:
申请本市市筹公共租赁住房准入资格的单身申请人或申请家庭主申请人应当同时符合以下条件:
(一)具有本市常住户口,或持有有效期内《上海市居住证》;
(二)已与本市就业单位签订一年以上(含一年)劳动或工作合同,并依法缴纳各项社会保险金。
申请本市市筹公共租赁住房准入资格的单身申请人或申请家庭全体成员应当同时符合以下条件:
(一)在本市人均住房建筑面积低于15平方米;
(二)申请时未享受本市廉租住房、共有产权保障住房政策。
各区区筹公共租赁住房的准入标准参照市筹公共租赁住房准入标准,结合本区经济社会发展等情况,由各区人民政府制订。
申请材料:
注:本市政府部门核发材料可通过电子证照、数据核验等方式免提交,具体以实际办理情况为准。
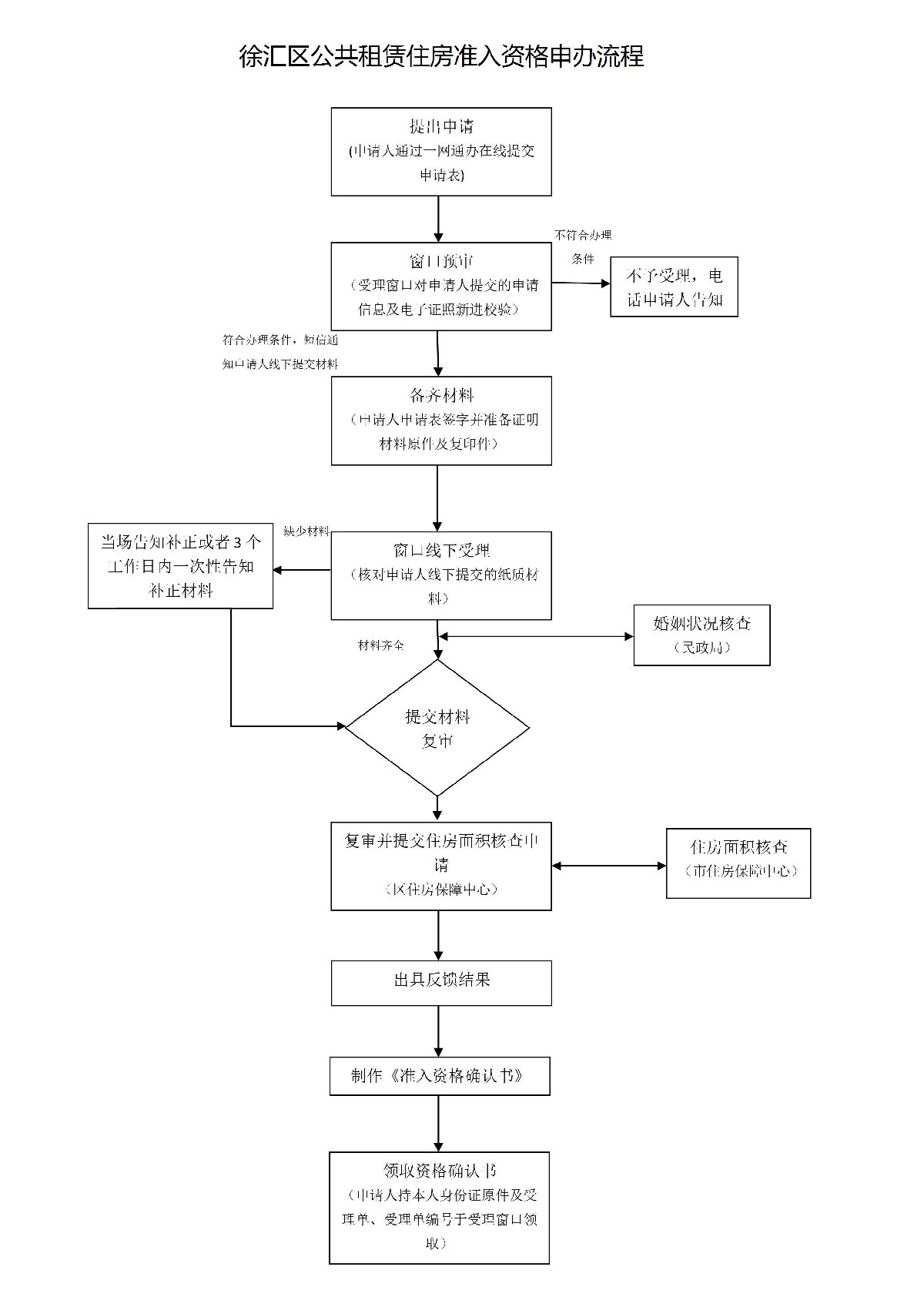
办理流程:
办理地点:
上海市徐汇区长桥街道上中路462号上海徐汇惠众公共租赁住房运营有限公司1号楼三楼6、7号窗口
办理时间:
星期一至星期日,上午08:45至11:30,下午13:30至16:30(法定节假日除外)
电话咨询: (021)64835777、(021)12345





