
金华市区公租房申请办法
一、金华申请公共租赁住房保障,应当符合以下条件:
(一)申请人条件
1.申请人为城镇住房困难家庭的,申请保障以家庭为单位。主申请人具有市区城镇居民户籍满1年以上,配偶(户籍不限)和未成年子女应为共同申请人,市区城镇居民户籍且共同生活的其他家庭成员可作为共同申请人。
年满30周岁的未婚人员或年满18周岁的孤儿,可单独申请。
2.申请人为新就业无房职工的,具有市区城镇居民户籍,大专(含)以上学历,参加市区职工基本养老保险且连续不间断缴费6个月以上;父母在市区人均住房建筑面积小于50平方米。
3.申请人为稳定就业外来务工人员的,具有初级(含)以上职称或中级(含)以上职业技能等级(从事公益类特定工种的,不受此项限制);参加市区职工基本养老保险且连续不间断缴费满6个月以上;非市区户籍人员应持有浙江省居住证。
(二)人均可支配收入低于上年度市区城镇居民人均可支配收入,从事公益类特定工种人员不受收入条件限制;
(三)人均住房建筑面积少于15平方米,且总建筑面积少于45平方米;
(四)没有本实施细则第三条规定禁止申请的情形;
(五)法律、法规另有规定的从其规定。
申请人有下列情形之一的,不得申请公共租赁住房保障。
(一)拥有价值15万元以上汽车或两辆以上汽车(车辆价值以销售发票上计税金额为准。家庭成员间变更转移的,按首次购买车价计算);
(二)家庭人均货币资产高于家庭人均保障面积乘以上年度金华市本级商品房均价的总额;商品房均价以统计部门数据为准,若统计部门无相关数据的,以房地产交易部门统计数据为准;
(三)企业投资(含出资认缴额)超30万元;
(四)公积金人均月缴存额超1400元(个人缴存额和单位缴存额合并计算,从事公益类特定工种人员不受本项条件限制);
(五)在市区城镇范围内已获批集体宅基地的;
(六)申请时已享受保障性租赁住房等其他住房保障政策;
(七)服刑在押人员。
因社会经济发展及市区住房保障情况,需调整上述标准的,由市住房保障主管部门、财政部门予以调整并公布。
二、金华市区公租房申请流程
(一)申请方式
申请人申请市区公共租赁住房保障,应当由申请家庭内具有完全民事行为能力的家庭成员提出申请。申请家庭所含人员如果均不具备完全民事行为能力,可由监护人提出申请。
申请人可在办事窗口、浙里办、浙江政务服务网凭申请人和相关关系人身份证提出申请,填写《金华市区公共租赁住房保障申请及家庭状况申报表》,并书面授权相关部门核查。
申请人对申请表填写内容的真实、有效、合法性负责,如有欺骗、虚报、漏报、瞒报等行为的,申请无效。
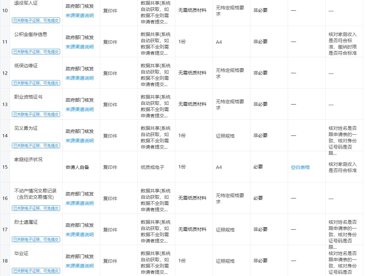
申请材料
图源浙江政务服务网
(二)受理程序
市住保中心负责受理市区公共租赁住房保障申请,并对申请材料和授权书的完整性进行审核。自受理申请之日起8个工作日内,对申请人家庭情况进行初审,并将申请人相关材料移交市核对中心。
(三)家庭经济状况核对
市核对中心统一负责市区公共租赁住房保障家庭的经济状况核对工作,家庭可支配收入通过申请人申报,社保和公积金数据按就高原则进行推算,法定劳动年龄段内(在校学生除外)无社保、公积金以及零收入对象,按当地最低工资标准进行推算。
市核对中心接收市住保中心移交的材料后10个工作日内出具核对报告,并将核对报告移交市住保中心。
(四)复审确认
市住保中心在收到市核对中心出具的核对报告后5个工作日内完成复审并在市住房和城乡建设局网站住房保障专栏予以公示,公示期5个工作日。公示无异议或异议不成立的,期满后5个工作日内,市住保中心确认保障资格,向申请对象送达《金华市区公共租赁住房保障资格确认告知书》。
保障对象须在《金华市公共租赁住房保障资格确认告知书》送达后一个月内办理相关事项,逾期视为自动放弃保障。
(五)异议复核
对审核结果有异议的对象,可申请复核。市住保中心、市核对中心负责复核。
(六)结果公布
公共租赁住房保障对象应当与市住保中心签订《金华市区公共租赁住房租赁补贴合同》或《金华市区公共租赁住房租赁合同》,合同期限一般不超过5年。市住保中心在对申请对象实施保障后,一个月内将结果予以公布。
(七)轮候
房源紧缺情况下,有实物配租需求的保障对象先通过发放租赁补贴进行保障。待公共租赁住房房源推出时,按配租方案进行分配。





