
厦门社保卡办理流程(个人+单位)
一、办理条件
(一)税务部门已受理参保人员的投保登记手续;
(二)投保登记手续办结后已满5个工作日。
二、办理材料
(一)个人办理
1.有效身份证件:二代居民身份证、护照、外国人永久居留证、港澳居民往来内地通行证、台湾居民往来大陆通行证、台港澳居民居住证等原件。
2.监护人可以代办、提供双方的有效证件、监护关系证明。
(二)单位办理
1.加盖单位公章的介绍信(注:可容缺);(线下办提供,需纸质)
2.代办人有效身份证件
3.申领人员有效身份证原件及复印件、加盖单位公章的市民卡(社会保障卡)批量申领花名册(含电子版)。
花名册内容包括申请人姓名、身份证件的类型和号码、联系电话、有效期限、申领人同意在该行申领市民卡(社会保障卡)的签字等。(线下办提供,需纸质)
备注:参保人员在申领前,先登录“厦门人社个人服务”微信—“服务”—“个人信息完善”,先补充完整申领所需的个人信息。
4.照片:本人近期1寸正面免冠彩色白底头像照片一张。
照片以公安部门的二代居民身份证照片为准,服务银行可以通过系统调用或通过读卡器读取、采集二代居民身份证照片。已领取二代居民身份证的参保人员原则上不需要提供照片,若系统无法获取二代居民身份证照片的,需申领人提供本人近期符合二代居民身份证照片要求的电子或纸质证件照片。
照片要求:参照《居民身份证用数字相片技术要求》(GA4612004),照片背景为白色,无边框,人像清晰,着有领的深颜色衣服(符合二代居民身份证件照片信息标准)。
电子照片规格:264 ×308,38K左右;文件名:个人保险号.jpg
(三)注意事项
1.未特别注明来源渠道、出具部门的材料由申请人自备。
2.未特别注明“复印件”的材料,应当提交原件。
提交复印件的,应当注明“与原件一致”并由申请人签署,或者由其指定的代表或共同委托的代理人加盖公章或签字。
3.未特别注明纸质材料份数的材料只需提交一份,相同的材料无需重复提交。
4.未特别注明“纸质”的材料,均为“电子”材料。
5.以上凡是涉及本部门颁发的证照复印件和批文复印件不再要求提交,凡是可通过电子证照库查询共享到的证照,不再要求提交纸质证照复印件,由办理机关自行打印并归档。
6.未注明“非必要”、“容缺后补”的为必要材料,应在提出申请当时提交。
三、办理时间
星期一至星期五(部分网点提供周末服务)上午 9:00-12:00 ;下午13:00-17:00(法定节假日除外)
四、办理方式
1.窗口办理地址
凡是悬挂“厦门市民卡(社会保障卡)经办服务网点”标牌的银行营业网点均可办理。银行网点>>>点此查询
目前可以选择的服务银行有14家,分别为工商银行、农业银行、中国银行、建设银行、邮储银行、兴业银行、招商银行、平安银行、厦门银行、厦门农商银行、厦门国际银行、民生银行、交通银行、光大银行。
咨询电话
人力资源社会保障:12333
工商银行:95588
农业银行:95599
中国银行:95566
建设银行:95533
邮储银行:95580
兴业银行:95561
招商银行:95555
平安银行:95511
厦门银行:4008588888
农商银行:4008396336
厦门国际银行:4001623623
民生银行:95568
交通银行:95559
光大银行:95595
2.线上办理地址
办理方式:登录厦门市人力资源和社会保障局官网,进入“个人平台”-“社会保障”-“一件事套餐服务”-“申领社会保障卡”,可以同时选择需要办理的社会保障卡事项。
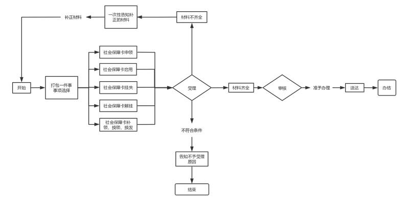
五、办理流程
六、承诺办理时限
个人申请制卡当场办结,批量制卡需15个工作日(周末及法定节假日不计入承诺时限)
七、领取方式
窗口领取、邮寄送达。
》》》》》厦门本地宝社保卡专题为您提供厦门社保卡办理、补办,厦门社保卡查询_余额查询等厦门社保卡相关信息,希望能对您有所帮助。详情请查看本地宝厦门社保卡专题






