
受理条件
一、法定劳动年龄内的人员;二、有劳动能力和就业要求;三、处于无业状态。
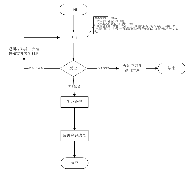
办理流程
申请—受理—办结—送达
(一)申请人向区就业管理服务机构、街道(乡镇)或社区(村)人力社保服务平台提交申请材料,或通过网上申报并选择结果送达方式;
(二)区就业管理服务机构、街道(乡镇)或社区(村)人力社保服务平台收到材料后完成受理、复核、审核工作;
(三)区就业管理服务机构做出决定后向申请人反馈办理结果
收费标准
●是否收费
不收费●是否支持网上支付
不支持
线下办事地点/时间
具体地址:柯桥区各镇(街道、开发区)或下辖村(社区)人力社保平台
办理时间:上午8:30--12:00,下午2:00--5:00
联系电话:0575-84126766
具体地址:柯桥区行政审批局(公共资源管理委员会办公室)(绍兴市柯桥区齐贤街道华齐路1066号)一楼人力社保板块
办理时间:上午8:30--12:00,下午2:00--5:00
联系电话:0575-84126766
详细内容点击查看:浙江政务服务网





