
嘉兴市嘉善县稳岗返还(稳岗补贴)申领业务办理流程
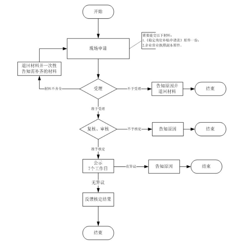
申请—受理—审核—公示—办结—送达
(一)申请单位向嘉善县就业管理服务处提交申请材料,或通过网上申报,并选择结果送达方式;
(二)嘉善县就业管理服务处收到材料后在即时完成受理、复核和审核工作;
(三)在嘉善县人事人才网公示补贴申请情况,公示时间不少于7个工作日;
(四)公示结束后,自做出决定之日起3个工作日内反馈稳定岗位补贴核定结果,按规定发放稳定岗位补贴。
嘉兴市嘉善县稳岗返还(稳岗补贴)申领业务受理条件
(一)依法参加失业保险并足额缴纳失业保险费;
(二)上年度未裁员或裁员率低于统筹地区城镇登记失业率。
禁止性要求:不得重复享受中小微企业稳定就业社会保险补贴。





