
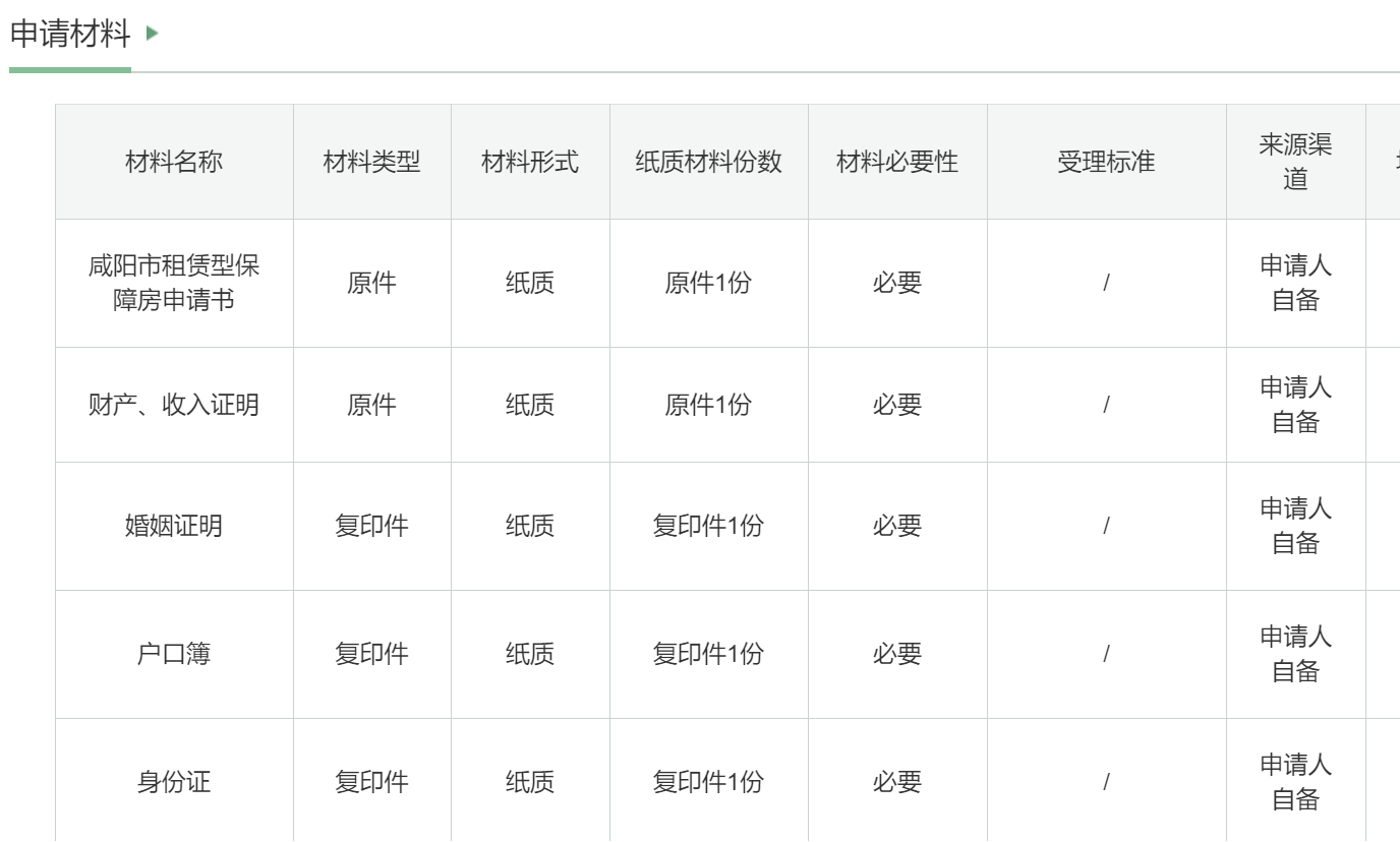
表格下载入口:
>>>咸阳市租赁型保障房申请书
>>>财产、收入证明
>>>婚姻证明
>>>户口簿
>>>身份证
申请公共租赁住房应提供的资料
(1)公共租赁住房保障申请书
(2)申请家庭成员身份证及复印件
(3)户口薄或公安机关出具的相关证明及复印件
(4)申请人所在单位和户口所在地或所在地社区、街道办出具的申请家庭经济收入、 住房状况,就业情况证明。人均住房面积低于 16 平方米的住房困难户需提交房产证及复印 件。
(5)用人单位出具的工作证明。
(6)大中专院校毕业证等其他需要提供的资料。
(7)申请人两寸彩照两张





