华容县哪些派出所能办理指纹补采(华容县哪些派出所能办理指纹补采证明)

地方特产2022-10-02 10:34:02佚名

华容县哪些派出所能办理指纹补采(华容县哪些派出所能办理指纹补采证明)

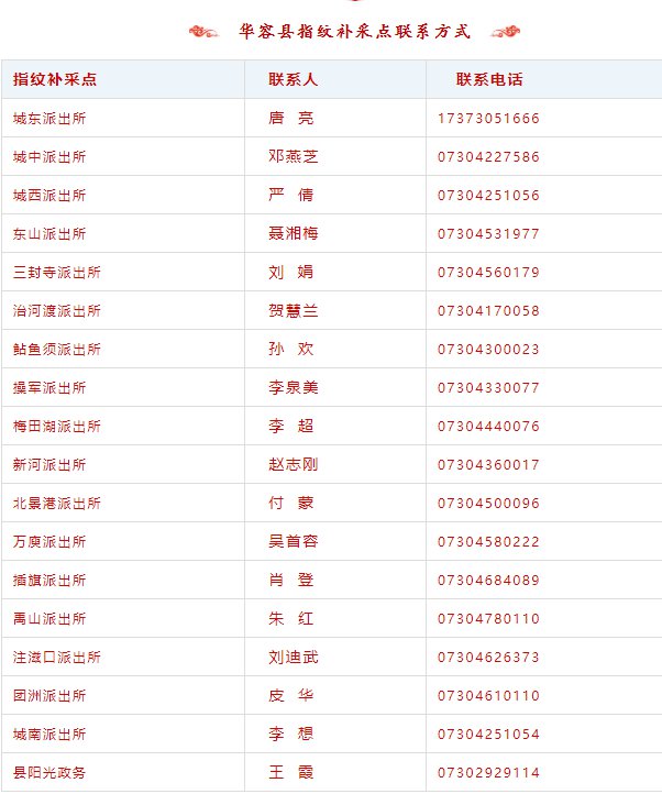
  华容县指纹补采派出所

  

本文标签: 华容县  指纹  派出所  HTTP  style  

相关推荐

猜你喜欢

大家正在看