
相城渭塘镇免费口罩领取指南
预约领取入口:过期已关闭
领取时间:3月4日-3月7日上午9:00—11:00 下午1:00—4:30
领券地点:各村、社区
领取注意事项
(1)渭塘镇户籍居民、有渭塘居住证的居民均可在规定时间内,凭“苏城码”绿码,至村、社区领取免费口罩一个。>>>
(2)“苏城码”申报人必须如实填写个人信息。
(3)若居民无智能手机,无法注册“苏城码”,可请人代为注册后去领取。
(4)请各位居民领取时,配合工作人员引导,保持间距,做好防护,有序领取。
(5)因派发工作筹备时间较短,可能不够完善,请居民朋友给予理解支持。如果有问题,请与各村、社区联系。
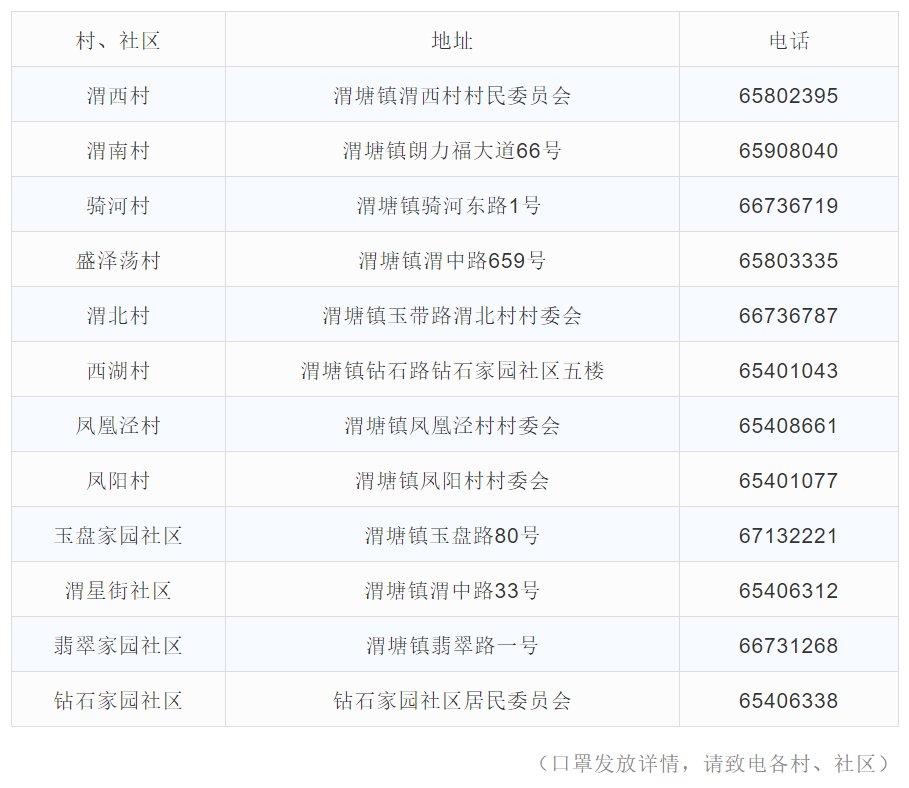
各村、社区电话地址:





