
北京离退休人员夫妻投靠落户指南
➤受理条件
1、干部男满60周岁,女满55周岁;工人男满55周岁,女满50周岁;
2、特殊工种,男满50周岁,女满45周岁;
3、在外省市工作,且已达到离、退休年龄,并办理了离、退休手续;
4、随迁子女系18周岁以下未成年子女,且符合我市计划生育政策;随迁独生子女的年龄不能超过25周岁,且未婚、未就业(独生子女指原配夫妻婚后生育的子女);
5、再婚人员投靠的,结婚时间、年龄参照夫妻投靠入非农业户条件办理。
➤所需材料
1、入户申请书、申请人及随迁人1寸免冠同版证件照;
2、申请人的中华人民共和国居民身份证、申请人的居民户口簿、被投靠人的中华人民共和国居民身份证,被投靠人的居民户口簿
3、申请人的离休证(或退休证);
4、被投靠人的结婚证;
5、申请人、被投靠人本人或直系亲属的房产证;
6、随迁25周岁以下独生子女还需提供经公证的未婚声明,无业说明材料(或无业人员告知承诺书或失业证);
7、离婚人员需提供离婚证,经公证的离婚协议书或离婚判决书;
8、申请人从事特殊工种退休的需提供特殊工种退休审批表。
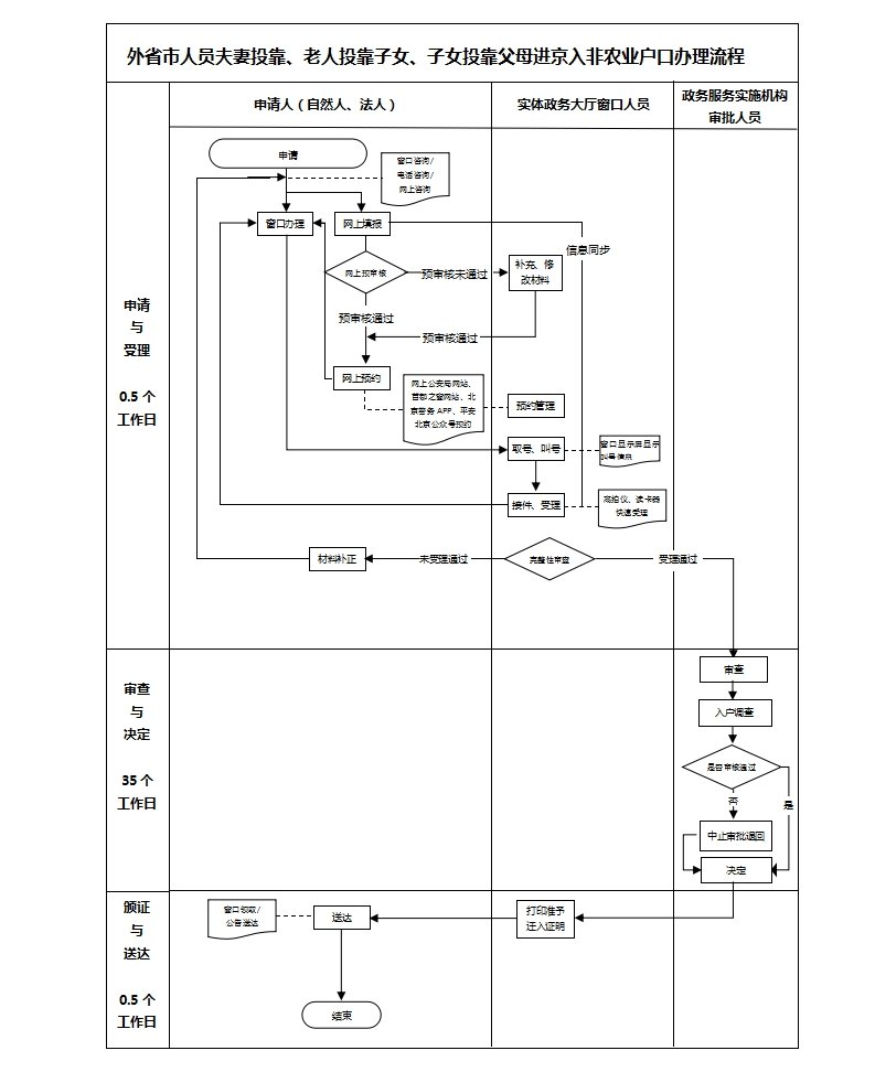
➤北京夫妻投靠落户流程
图源为:北京市人民政府
》》





