
➤北京无业老人投靠子女落户条件
1、申请人男性年满60周岁,女性年满55周岁(夫妻双方同时申请);
2、申请人外省、市(县)无子女;
3、被投靠人为本市非农业户口。
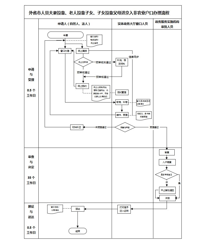
➤北京老人投靠子女落户流程
图源为:北京市人民政府
》》
地方特产2022-04-02 18:08:19佚名

➤北京无业老人投靠子女落户条件
1、申请人男性年满60周岁,女性年满55周岁(夫妻双方同时申请);
2、申请人外省、市(县)无子女;
3、被投靠人为本市非农业户口。
➤北京老人投靠子女落户流程
图源为:北京市人民政府
》》
兰州疫情期间孩子出生没落户怎么办
银川药师证免试规定