
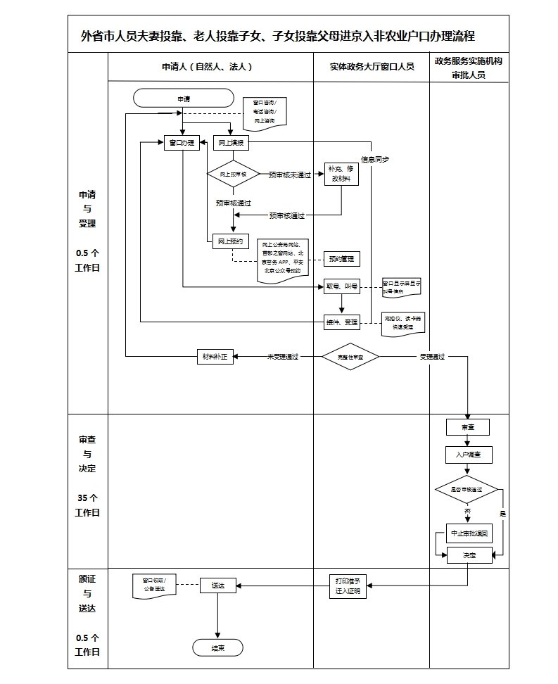
➤北京子女投靠父母落户流程
图源为:北京市人民政府
➤北京子女投靠父母审查标准
子女投靠父母在京入非农户条件:不满18周岁以下未成年人子女,且符合本市计划生育政策(独生子女参照夫妻投靠入户政策办理);
1、父、母因单、对调工作户口迁京遗留在外地的未成年子女;
2、父、母因招工、招干、接班顶替、复转军人户口迁京遗留在外地的未成年子女;
3、父、母在国外或港、澳、台留学、工作期间生育的子女,父、母已回京入户;
4、父、母因小城镇户籍政策户口进京满5年的,遗留在外地的未成年子女;
5、父、母因私企人员入户政策,户口进京遗留在外地的未成年子女;
6、父母大学生毕业分配户口进京,遗留在外省市的18周岁以下未成年子女;
7、符合受理条件第1条、第2条,父、母进京时隐瞒婚姻及子女情况,18周岁以下未成年子女申请投靠的,父、母户口须进京满5年以上。
》》





