
中山沙溪镇关于3月15日开展第二轮全员核酸检测的通知
为有序推进疫情防控工作,加快恢复生产生活秩序,沙溪镇决定于3月15日在全镇范围内开展第三轮全员核酸检测。具体安排如下:
一、采样对象:
沙溪镇辖区全体居民(含本地常住人口、临时流动人口、外籍人员等)。
二、采样时间:
3月15日(星期二)10:00至20:00。
(沙溪党群服务中心、星宝广场检测点时间为10:00-22:00)。
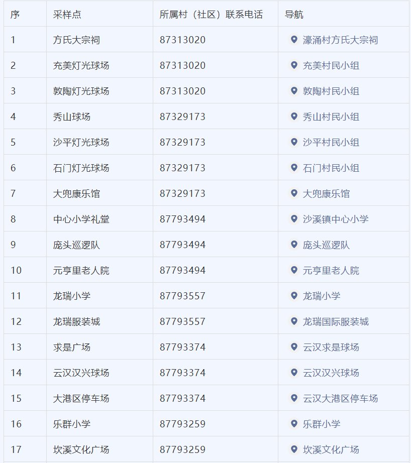
三、采样地点:
各村(社区)固定采样点和在部分企业设置的临时采样点见下表。
全镇人民齐努力,主动参与核酸检测,确保应检尽检、不落一户、不漏一人,争取早日全面恢复正常生产生活秩序。
四、注意事项
(一)提前使用微信小程序“粤核酸”填报信息流程(见下图),填写信息生成二维码后截图保存,到采样点后直接将二维码提供给登记人员读取信息,减少等候时间;也可帮家人(老人、小孩等成员)填写信息生成二维码后截图保存,数量不限。
(二)请居民主动与所在村(社区)联系,按照村(社区)的通知要求及工作人员指引,根据“就近原则”,到达指定地点开展核酸采样,做到“应检尽检”,确保不漏一户、不落一人。
(三)采样时请携带身份证原件、手机,主动出示“粤康码”“行程码”,并全程科学佩戴口罩,与他人保持1米以上间隔,不交谈、不聚集。
(四)核酸检测前如有接种新冠疫苗的(包括第一针、第二针、第三针),请于接种疫苗48小时后再进行核酸检测。如有发热症状的,暂不参加本轮采样,请主动到沙溪隆都医院发热门诊就诊。
(五)开展核酸采样期间,各社区卫生服务站暂停开诊,沙溪体育馆新冠疫苗临时接种点暂停接种,不便之处敬请谅解。各类药店暂停销售退热、抗生素、抗病毒、咳嗽感冒类药品,发现购药人有发热等可疑症状的,要第一时间报告。
(六)请广大市民群众做到不造谣、不信谣、不传谣,通过官方媒体了解和掌握疫情动态和防控知识,不传播未经核实的疫情信息。严格遵守《中华人民共和国传染病防治法》的有关规定,配合工作人员做好信息登记和样本采集工作。无正当理由拒不配合、妨碍疫情防控或造成其他严重后果的,须依法承担相应法律责任。
(七)严格做好个人防护。少聚集,不扎堆,坚持戴口罩、勤洗手、常清洁、用公筷等良好生活习惯。如有出现发热、干咳、乏力、咽痛、嗅觉减退等不适症状,立即到沙溪隆都医院发热门诊就诊,就医途中全程佩戴口罩,避免乘坐公共交通工具。
沙溪镇新冠肺炎疫情防控
指挥部办公室
2022年3月13日





