
截至2022年2月06日,全国31个省(自治区、直辖市)和新疆生产建设兵团共有疫情高风险地区6个,中风险地区53个,其他均为低风险。
2月6日16时,广西百色市召开新冠肺炎疫情防控新闻发布会,通报截至2月6日12时,各相关县(市、区)第一轮核酸检测累计发现初筛阳性98人、待复核87人。截至16时,本轮疫情累计现有确诊病例43例,其中德保县37例、右江区2例、田阳区1例、隆林县1例、靖西市2例。
时值春节假期结束,返来北海人员再呈高峰,鉴于当前疫情的严峻性、复杂性,为保障您和家人的健康,切实做好我市“外防输入,内防反弹”疫情防控工作,坚决遏制疫情传播蔓延,参照有关要求,现对外地返来北海人员提出健康管理温馨提示如下:
一、健康管理要求
(一)中高风险地区返来北海人员管理
对从中高风险地区、中高风险地区所在县(市、区)或直辖市街道、本土疫情发生地所在设区市或直辖市城区返来北海人员按照自治区疫情防控指挥部办公室《关于做好春节期间疫情防控有关工作的通知》(桂新冠防指办〔2022〕16号)、《关于进一步做好春节期间疫情防控工作的通知》(桂新冠防指办〔2022〕25号)等规定严格进行健康管理。
(二)其他非中高风险地区(含广西区内人员)返来北海人员管理
1.自1月27日(含)-1月31日返来北海人员,未进行核酸检测的,请立即主动做1次核酸检测。
2.自2月1日(含)-2月6日返来北海人员,未进行2次核酸检测的,请立即主动做第1次核酸检测,间隔1天(24小时),再进行第2次核酸检测;已进行1次核酸检测的,请立即主动再做1次核酸检测。
3.自2月7日(含)后返来北海人员,抵达北海后实行3天自我健康监测+2次核酸检测(第1、3天)。
上述人员请做好个人防护、避免乘坐公共交通工具,自觉就近到核酸采样检测点自费进行检测。从机场、火车站、长途汽车站进入我市,未持有48小时核酸检测证明人员,第1次核酸检测在出站口核酸检测点进行检测。
(三)百色市返来北海人员管理
对2022年1月27日(含)后有百色市旅居史返来人员,抵达北海后未报备的,要及时主动向所在社区(村、屯)及单位报告,并配合做好核酸检测、医学观察或健康监测等疫情防控措施。自2月7日(含)后百色市返来北海人员,至少提前24小时向目的地社区(村、屯)及单位报备,在返回目的地后12小时内向目的地社区(村、屯)及单位报告并接受健康管理。
1.百色市德保县中高风险地区(封控区、管控区)返来北海人员
(1)抵北海不足7天的,实行14天集中隔离医学观察+5次核酸检测(第1、4、7、10、14天),集中隔离医学观察结束后进行7天居家健康监测+3次核酸检测(第2、4、7天)。
(2)抵北海超过7天但不足14天的,实行7天集中隔离医学观察+3次核酸检测(第1、4、7天),集中隔离医学观察结束后进行7天居家健康监测+3次核酸检测(第2、4、7天)。
(3)抵北海超过14天不足21天的,实行7天居家健康监测+2次核酸检测(第1、7天)。
2.百色市德保县非中高风险区(封控区、管控区)返来北海人员
(1)抵北海不足7天的。实行7天集中隔离医学观察+3次核酸检测(第1、4、7天),集中隔离医学观察结束后进行7天居家健康监测+2次核酸检测(第2、7天)。
(2)抵北海超过7天不足14天的,实行7天居家健康监测+2次核酸检测(第1、7天),居家健康监测结束后进行7天自我健康监测+2次核酸检测(第2、7天)。
(3)抵北海超过14天不足21天的,实行7天自我健康监测+2次核酸检测(第1、7天)。
3.百色市已报告本土新冠病例县区(田阳区、右江区、靖西市、隆林县)返来北海人员
(1)抵北海不足7天的。实行7天居家隔离医学观察+3次核酸检测(纳入管理后第1、4、7天),居家隔离医学观察结束后进行7天居家健康监测+2次核酸检测(第2、7天)。
(2)抵北海超过7天不足14天的,实行7天居家健康监测+3次核酸检测(第1、4、7天)。
(3)抵北海超过14天不足21天的,实行7天自我健康监测+2次核酸检测(第1、7天)。
以上重点人员,无居家隔离医学观察条件的,须统一进行集中隔离医学观察。
4.百色市其他无本土新冠病例报告的县(市、区)返来北海人员抵北海后,实行3天自我健康监测+2次核酸检测(第1、3天)。
5.百色市其他县(市、区)如报告本土新冠病例或划定中高风险地区(封控区、管控区),分别参照以上管理要求执行。
广西区内其他县(市、区)如报告本土新冠病例或划定中高风险地区(封控区、管控区),按照自治区有关管理规定执行。
二、个人疫情防控提示
每个人是自己健康的第一责任人,广大群众要自觉做好个人防护,积极配合各地健康排查、健康码查验等疫情防控措施,如果刻意隐瞒行程、拒绝接受核酸检测或不配合防控导致疫情传播扩散的,将承担相应法律责任。
(一)做好健康防护减少跨市跨省出行
继续加强个人防护意识,做好戴口罩、勤洗手、常通风、一米线、不扎堆、不聚会等防护措施。家庭聚餐、公共场所等均需要严格按防控要求做好人员限制,减少大型聚集性活动。减少非必要的跨市跨省出行,特别是尽量不要前往疫情中高风险地区和有本土病例报告的县(市、区)。
(二)接种新冠疫苗
按照“应接尽接”原则,在没有接种禁忌症的情况下,符合条件的人群尽早接种新冠疫苗,共筑免疫屏障。
(三)做好个人健康监测
前往核酸检测途中,请严格做好佩戴口罩等个人防护措施,尽量不要乘坐公共交通工具。等待检测过程中,保持1米线距离,不聚集,不逗留。
做好个人健康监测,一旦出现发热、干咳、乏力、咽痛、嗅(味)觉减退、腹泻等不适症状,请及时就近到具有发热门诊(诊室)的医疗机构就诊。
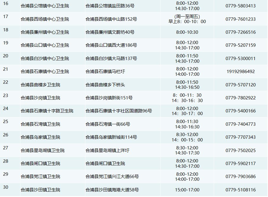
北海市核酸检测采样服务点一览表





