
4月12日全国本土净新增【1348+26420】
自3月1日以来,截至4月12日24时,31个省(自治区、直辖市)和新疆生产建设兵团,除西藏无本土感染者报告外,其他省份均有本土感染者报告,主要集中在上海、吉林、河北、山东等省市。近日来,江苏感染者报告持续增多,存在局部扩散风险。目前国内总体疫情呈现点多、面广、频发,且以奥密克戎变异株流行为主,形势十分严峻。为保障全市人民生命健康安全,严防疫情输入,永州市疾控中心紧急提醒如下:
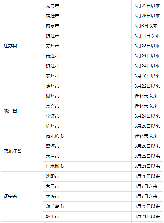
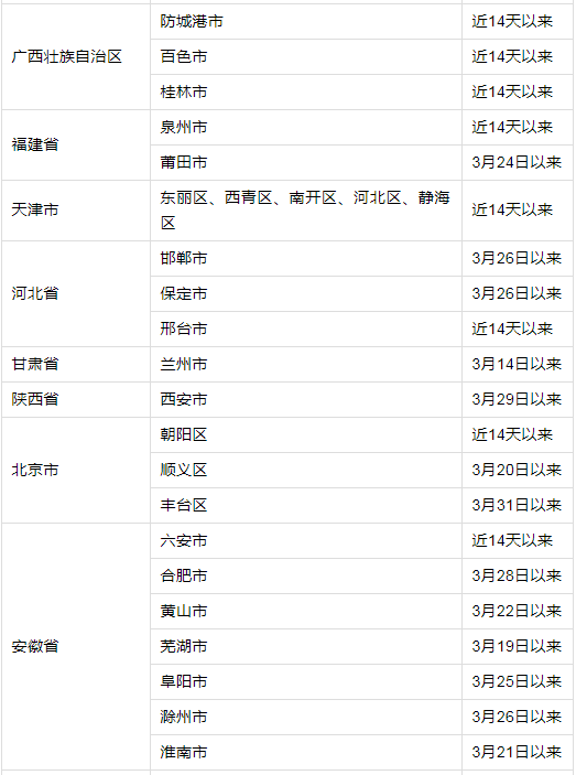
一、主动报备行程。所有外省入(返)永人员均应在抵永前两天进行报备,特别是近21天有境外旅居史、近14天有高中风险区及其所在县(市、区)、封控区、管控区旅居史(见下表)、与感染者轨迹有重合交集、健康码为“红码”或“黄码”、行程卡显示近14天内到达或途径的城市名称标有“*”星号、有直接接触入境人员、物品、环境的高风险岗位人员以及集中隔离场所、定点医疗机构、发热门诊、进口冷链食品相关企业等风险岗位的入(返)永人员,均可通过扫描“永防码”或进入“永州发布”微信公众号入口进行线上自主申报小程序报备,也可选择通过电话、委托亲人朋友同事等方式向目的地所在社区(村)、工作单位或所住酒店报备,按要求配合做好各项防控工作。对于不报、瞒报、谎报涉疫信息或不配合防疫工作的,将依法追究相关单位和个人的责任。





二、主动排查风险。全市各机关、企事业单位、乡镇(街道)、社区(村)要严格落实常态化疫情防控措施,同时要主动开展相关涉疫重点人员排查,并与单位属地疫情防控指挥部主动联系,报告排查情况。广大市民如发现有相关涉疫重点人员也需主动向所在社区(村)或辖区疾控中心报告。各社区(村)要及时掌握辖区外来人员情况,严格、精准落实社区管控措施。
三、主动开展核酸检测。有本土核酸阳性感染者(含无症状感染者)报告省份、近14天有本土感染者报告的地市或自陆路边境口岸县(市、区)的来(返)永人员需持48小时内核酸检测阴性证明入永,抵永后24时之内再进行一次核酸检测,并自我健康监测14天。目前,没有本土核酸阳性感染者(无症状感染者)报告省份的来(返)永人员也需持48小时内核酸检测阴性证明入永,并自我健康监测14天。因紧急事项入永者,可在抵永后就近落地核酸采样。等待核酸检测结果期间,无高、中风险流行病学史且非红黄码、无发热、咳嗽等急性呼吸道感染临床症状的人员,可做好个人防护出行。
四、合理安排出行,非必要不出市、不离省。建议不要前往高风险地区及所在地市、中风险地区及所在县(区市)和陆地边境口岸城市。确需出市的,出行前,建议提前向所在社区(村)和工作单位咨询出行防疫措施或在国务院客户端小程序上查看全国中高风险地区以及各地最新防疫政策,做好有关准备。
五、积极接种疫苗。接种新冠病毒疫苗是预防控制新冠肺炎最经济、最有效的手段,更是每一位公民应尽的责任和义务,符合接种及强化接种条件的居民朋友,请及早就近、就地主动接种疫苗。





