
➤2022年南昌市初中学业水平考试生物地理学科机考考试系统操作手册:
一、考试系统介绍
本次考试系统共分三端,分别为教师中台端、教师监考端、学生端:
1、教师中台端:
教师中台端为客户端形式,供机房管理员使用。其作用相当于本地考试服务器,负责向考试院服务器、局域网内的学生端进行发送/接受数据,并支持考场情况查看,数据统计等功能。登录教师中台端是使用教师监考端、学生端的前提,考试期间不得关闭教师中台端。
2、教师监考端:
教师监考端通过网页访问,供监考老师使用,需和教师中台端在同一局域网内。其主要功能为监考管理,包括查看考场的考生信息,对考生进行违纪、禁答、座位号绑定/解绑等操作。该端登录与否,不影响教师中台端和学生机的使用。
3、学生端:
学生端为客户端嵌套网页形式,供考生使用,需和教师中台端在同一局域网内。其主要功能为考试答题,模拟考试版还包含查看评分与解析。学生端禁止访问其他网页,并支持标准化考场硬件。
二、配置要求
1、教师机配置及环境要求:
系统要求:win7/win10。
CPU要求:推荐奔腾G4560及以上。
内存要求:4G及以上。
网络要求:IP地址固定,可以访问互联网及局域网,局域网需与学生机联通。
显示器分辨率:最低1360x768,分辨率越高显示效果越佳。
环境要求:必需安装.NET4.0,系统无毒,建议关闭防火墙、杀毒软件。
浏览器要求:必需通过谷歌/火狐/Edge浏览器访问。
2、学生机配置及环境要求:
系统要求:xp/win7/win10。
CPU要求:推荐PIII 1800MHZ及以上。
内存要求:2G及以上。
网络要求:IP地址固定,可以访问局域网,局域网需与教师机联通。
显示器分辨率:最低1360x768,分辨率越高显示效果越佳。
环境要求:必需安装.NET4.0,系统无毒,建议关闭防火墙、杀毒软件,如学生机有还原系统请关闭还原或者设置考试软件为白名单。
三、部署考试系统
1、部署教师机中台端
登录了教师中台端,学生机才可登录考试。现在只需在教师机上部署教师中台端即可,具体如下:
第一步:在市初中学考机考(机房管理员)群(以下简称QQ群)的群文件下载考试系统压缩包,解压完成后插入加密狗,找到“RExam信息化考试教师端中台版.exe”文件双击打开(无加密狗可直接双击打开)。

第二步:打开软件后会弹出登录框,有加密狗和无加密狗的考点分别按以下说明进行操作:
有加密狗:如果已插入加密狗,会显示绑定的考点,然后通过机房下拉框选择好相应的机房,点击考点登录即可;

无加密狗:如果为非考点没有加密狗,请在学校、机房两个输入框内分别输入对应的信息,再点击“非考点登录”按钮。截图逐级上报,考试院批复后,联系QQ群内技术支持来进行登录。

第三步:点击登录后,第一次会下载考试数据,等待下载完成后即可使用。

第四步:数据下载完成后,点击上方的“第二步”页面,再点击“进入监考管理页”,即可打开教师监考端页面。
如机房管理员本身为监考老师,教师中台端和教师监考端都在本机打开即可;
如机房管理员本身并不是监考老师,请机房管理员将教师监考端链接发至监考教师机,供监考老师使用。

2、部署教师机监考端
在教师监考机打开教师监考端链接登录即可,无需特别部署。建议在教师监考端桌面放置该链接的快捷方式。教师监考端使用的前提是教师中台端已登录,并与之在同一局域网内。
该端一般凭监考账号密码登录,默认登录账号为admin,默认密码为123456

3、部署学生端
学生端使用的前提是教师中台端已登录,并与之在同一局域网内。
打开从QQ群文件下载的考试系统压缩包,将学生机D盘考试程序文件夹下发给每台学生机(使用u盘、机房管理软件、文件共享都可),完成后在学生机打开文件夹,双击打开图中标明的文件,即可打开学生端。建议在学生机桌面放置该程序的快捷方式。

四、教师中台端详细功能介绍
功能点1. 登录:
支持三种登录方式:考点登录(有加密狗)、非考点登录(无加密狗)、脱机码登录(断外网)。
考点登录(有加密狗):操作方法已在部署教师机中台端时说明,此处不再赘述。
非考点登录(无加密狗):操作方法已在部署教师机中台端时说明,此处不再赘述。
脱机码登录(断外网):如果断外网不能及时恢复,可逐级上报考试院,获得考试院批准后,联系QQ群内技术支持获取脱机码,告知学校名称和机房信息。到时技术支持会提供一串脱机码,然后打开中台软件,在中台弹出登录框,勾选使用脱机码,输入脱机码,点击脱机码登录即可进行离线考试。

功能点2. 实时数据查看及后台控制:
在“第二步”页面,可以查看考试批次、考生状态、服务器的并发状态。

功能点3. 快捷进入教师监考端、学生端:
点击图中按钮,即可分别跳转至学生端和教师监考端页面。其中学生端网页版在正式考试时会禁用(只能用客户端进入)。

五、监考端详细功能介绍
功能点1. 登录:
该端支持两种方式登录:
第一种,管理员登录:输入账号密码登录。如只用一台教师机监考,一般使用此方式登录,无需另外生成进入码。默认账号密码见“部署教师机监考端”。
第二种,进入码登录:点击图中数字4箭头所指的“进入码快速登录”。如使用多台教师机监考,请使用此种方式登录,且需要管理员先用账号密码登录生成进入码。生成进入码的具体方法见功能点5。

功能点2. 考场监考管理:
登录后,点击“考场监考管理”按钮即可查看考生及考场相关信息。
整场延时:如考场需延时,可点击考试时间后的“考场延时”按钮进行延时,对整个考场进行延时最多10分钟操作(超过10分钟需要逐级上报考试院审批)。
界面下半部分可对考生状态进行筛选查看,也可对考生进行缺考、违纪、禁答、延时、解锁操作。界面左下角实时显示考生的操作轨迹。
缺考:本场考试结束后可点击“缺考”标记缺考考生。
违纪:发现违纪考生即可针对该考生点击“违纪”。
禁答:需要禁答考生即可针对该考生点击“禁答”。
延时:需要针对个别考生延长考试时间,即可针对该考生点击“延时”。
解锁:考生重复登录三次会被锁定,如需解锁可在此处点击“解锁”。

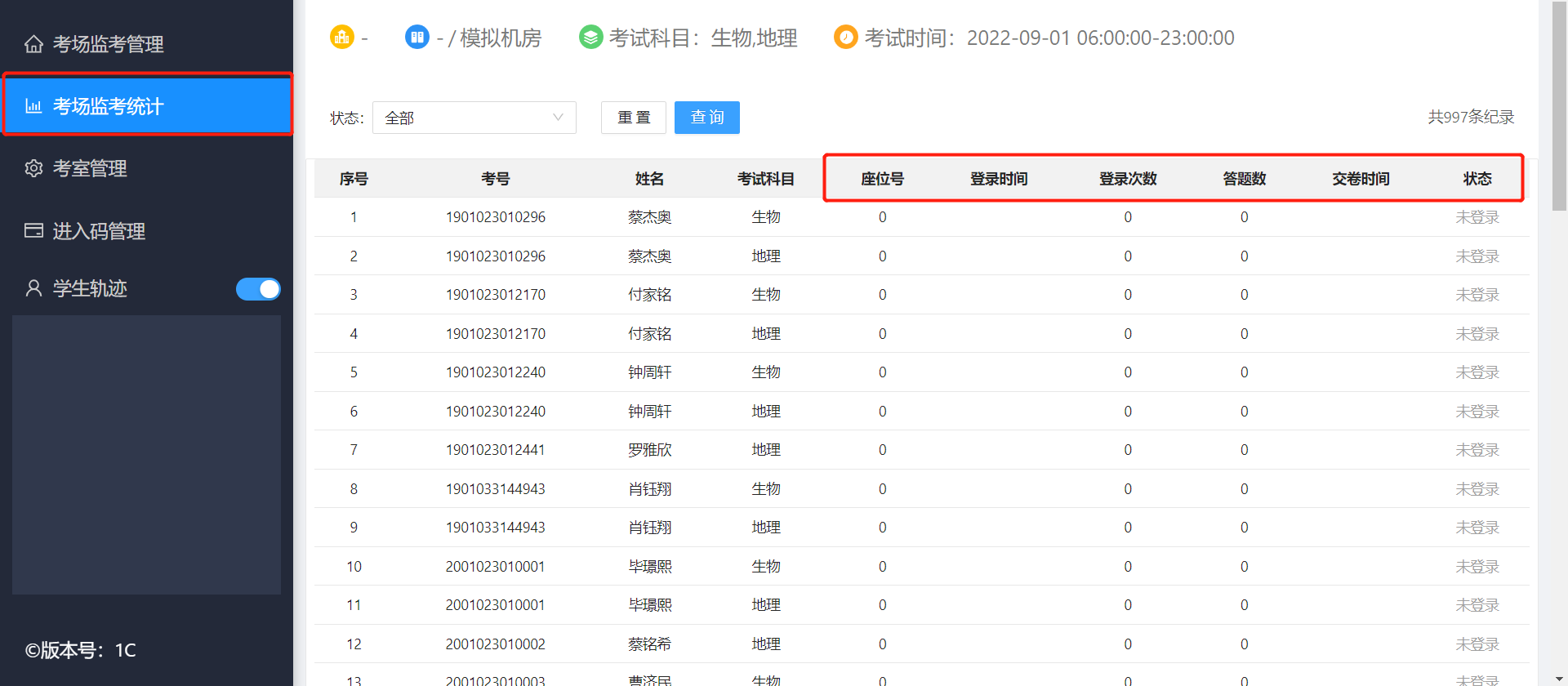
功能点3. 考场监考统计:
在此界面可查看考生的答题数状况。

功能点4. 考室管理:
在此界面可进行机位绑定/解绑操作。支持直接生成强绑码,也支持导入绑定文件批量绑定(适用于之前已用过考试系统的考点),且可对已绑定座位号机位进行解绑操作。强绑码的作用为强行在已绑定机位号的机位绑定其他机位号,一般用于换机操作。

功能点5. 进入码管理:
需要在多台监考机上进行监考管理时,可由管理员进入此界面生成进入码,其他监考员就可使用进入码登录监考端,方便快捷。

六、学生端详细功能介绍
功能点1. 考生登录界面:
在此处输入账号密码,选择相应科目,点击登录,会弹出信息确认框,确认无误后点击确认即可进行模拟考试。
默认账号:考籍号,默认密码:身份证号码后六位。
如考生不知道考籍号,可点击登录页面科目下方的“忘记考籍号”按钮,通过身份证号码来查询自己的考籍号。

功能点2. 考生答题界面:
登录后进入答题界面,可顺序作答,也可在答题卡处点击相应的题号实现跳转题目作答。右下角显示已答题数,右上角显示考生及登录时间科目信息。

功能点3. 考生答题操作:
按图中,选择相应的选项即可,答完点击“下一题”按钮即可跳至下一题。

功能点4. 考生交卷操作:
学生答完所有题目后,点击左下角的提交试卷,在确认框点击确定即可交卷。

【相关内容拓展阅读】
☑ 2022南昌初中生物地理机考模拟测试时间及方式:
,即可查看详情。





