
2022湖北成人高考报名流程说明(附流程图)
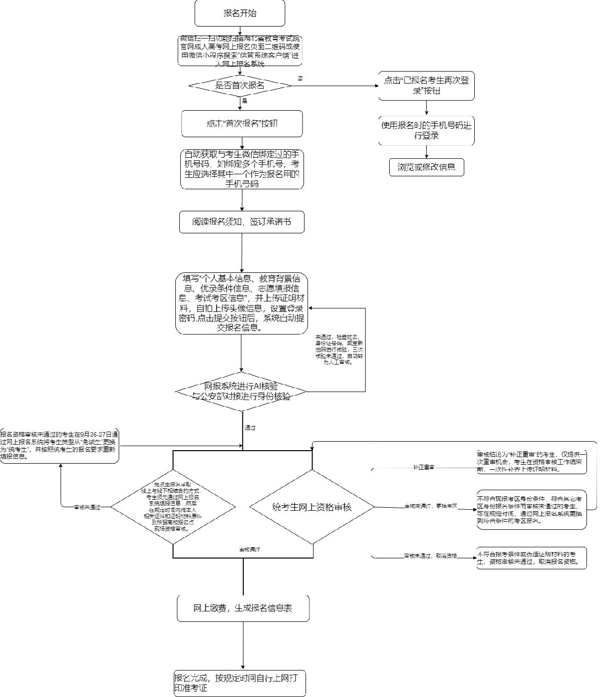
2022年成人高考采取网上报名方式,分为信息填报及身份核验、报名资格审核、网上缴费三个阶段,采用手机号、微信号与身份证号三重绑定的实名制注册报名办法。
(一)信息填报和身份核验
1.考生首次注册进入报名系统之后,在填报信息之前,须按系统提示,认真阅读网上报名系统提供的电子文本,在填报信息之前须按系统提示认真阅读相关电子文本,并按提示要求签订确认,拒绝签订者系统将不接受其报名。
2.考生须真实、准确、完整地填报各项报名信息和提交各项报名证明材料,头像照片须通过本人手机活体自拍并上传,采集头像照片和证明材料照片应符合《湖北省成人高考考生头像照片采集规范和标准》和《报名证明材料的扫描(翻拍)要求》的要求。
3.网上报名系统采取人证头像比对线上身份核验技术,考生提交信息后,网上报名系统会自动通过公安部第一研究所授权的公民身份信息核验服务平台对考生进行线上身份核验。线上核验身份时,对信息比对不一致、核验未通过的考生,系统会反馈核验未通过的原因,包括姓名不一致、头像照片不一致等。首次信息核验未通过的考生可根据系统反馈的原因,在两小时内重新提交核验;确因相貌变化太大,两小时内三次核验仍未通过的考生,系统将关闭该生网上身份核验功能,考生可按系统提示申请转为线上人工身份核验。
4.为了尽可能保证考生提交的头像照片能一次性通过公安部门提供的公民居民身份证信息网上核验,网上报名系统设置了图像信息人工智能识别功能,在考生向公安部门提交报名信息、进行网上身份核验之前,网上报名系统人工智能识别功能将对考生提交的头像照片的基本品质、图像清晰度、头像照片是否为二次翻拍照片等进行人工智能检测识别。凡头像照片的五官品质不符合基本要求,清晰度达不到基本标准,头像照片为二次翻拍的考生,网上报名系统将禁止考生向公安部门提交待验个人基本信息进行网上核验,并向考生反馈不能提交个人基本信息核验的原因。考生应按网上报名系统反馈的原因重新规范采集并上传头像照片接受身份核验。
特别提示:信息填报阶段,考生提交信息后且通过网上身份核验或线上人工核验的,不得再更改身份证号、姓名,其他信息可以修改。信息填报阶段时间截止后,网上报名系统将锁定信息修改功能,禁止考生修改报名信息。凡在规定时间未完成报名的考生,逾期一律不允许再报名;凡因未按照规定勾选相关选项、选错科类、填错优录加分项等造成信息填报有误的,责任均由考生本人承担。
(二)报名资格审核
1.统考生报名资格审核工作由市州教育考试机构负责,免试生报名资格审核工作由各招生高校负责。
2.统考生的资格审核包括形式审核和内容审核两部分,审核结论分为审核通过、补正重审、审核未通过三种,考生可通过网上报名系统查询审核结论。对审核结论为“补正重审”的考生,网上报名系统只提供一次补正重审机会,考生应在资格审核工作结束前,一次性补齐上传证明材料。对审核结论为“审核未通过”的考生,网上报名系统会反馈审核未通过的理由。
凡因不符合现报名考区身份条件并且伪造证明材料而未通过审核的考生,一律不允许更换考区报名;凡因不符合报名条件,恶意违反报名规则重复上传虚假不实证明材料的考生,教育考试机构有权锁定该考生报名号,禁止其报名。
3.申请免试的考生须在规定时间到所报高校提交相关证明材料原件,接受所报招生高校的现场报名资格审核;招生高校须在规定时间内完成免试生的资格审核工作,并反馈审核结果。凡在规定时间内考生未向所报招生高校提交相关证明材料的,逾期一律不再受理。
(三)网上缴费
1.资格审核通过的考生须在规定时间内完成网上缴费。缴费成功后,网上报名系统会自动生成《湖北省2022年成人高考报名信息表》,考生可将该表作为报名成功的依据。规定时间截止后,凡未缴费或缴费未成功的,本次报名无效。网上缴费成功后一律不退费。
2.根据《省物价局、省财政厅关于调整我省部分教育考试费收费标准及有关问题的通知》规定,湖北省成人高考考试费标准为:高中起点升专科每生105元;高中起点升本科每生165元;专科起点升本科每生105元。
3.网上报名收费系统只支持中国银联系统内的银行卡网上缴费。银联在线支付提供了快捷支付方式。考生需提前准备好具有支付功能的银联卡。
湖北省2022年成人高考考生网上报名流程(PC机版本)
湖北省2022年成人高考考生网上报名流程(手机版本)





