
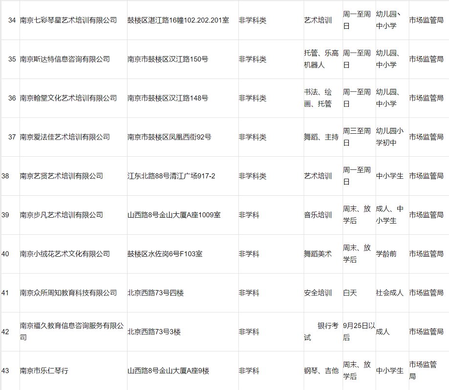
2021年秋季鼓楼区社会培训机构(托育机构)线下复课验收通过名单公示(第一批)
根据省市疫情防控指挥部统一部署,近日鼓楼区联防联控工作指挥部学校组组织相关部门和属地街道对申请线下复课的社会培训机构(托育机构)进行了检查验收,现将南京市鼓楼区第一批通过验收的社会培训机构(托育机构)名单予以公示,自公示日起,三个工作日后培训机构可恢复线下培训活动。


来源:南京市鼓楼区人民政府
鼓楼区联防联控工作指挥部学校组
2021年9月18日
来源:南京市鼓楼区人民政府
教育百科2022-05-18 20:55:06佚名

2021年秋季鼓楼区社会培训机构(托育机构)线下复课验收通过名单公示(第一批)
根据省市疫情防控指挥部统一部署,近日鼓楼区联防联控工作指挥部学校组组织相关部门和属地街道对申请线下复课的社会培训机构(托育机构)进行了检查验收,现将南京市鼓楼区第一批通过验收的社会培训机构(托育机构)名单予以公示,自公示日起,三个工作日后培训机构可恢复线下培训活动。


来源:南京市鼓楼区人民政府
鼓楼区联防联控工作指挥部学校组
2021年9月18日
来源:南京市鼓楼区人民政府